NUUKOLITfabrikken
NUUKOLIT Rørisolering

Til isolering af køle- og koldtvandsrør leveres til enhver udvendig rørdimension fra 28 mm til max. 1450 mm

Tykkelser fra min. 15 mm.

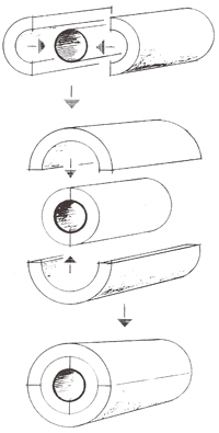
NUUKOLIT rørskåle
Udførelse: Nøjagtigt udskårne i to halvdele og af flere lag
Rumvægt: 20 - 30 - 40 kg/m³
Anvendelse: Rørisolering ved temperaturer fra +90 til -175° C
Dimensioner: Længde 500 mm. Isoleringstykkelser 15 - 20 - 25 - 30 - 35 mm osv.
Beholdere, tanke og brønde

Isoleringsskåle leveres i størrelser indtil 1450 mm i diameter. Skålene er 500 mm høje/lange. NUUKOLIT råder over specialmaskiner til både små og store opgaver. Spørg os om en pris.

Størrelser

Se venligst rørdiametre i vor prisliste.



Nuukolitfabrikken |  Box 244  |  3900 Nuuk
Tlf: 322694  |  fax: 325094  |  mobil: 554400
mail: bejder@greennet.gl